
| 產品名稱: | 可調式支管減壓閥 | 產品型號: | YZ11X |
| 公稱通徑: | DN15~DN50 | 結構形式: | 彈簧可調式 |
| 工作壓力: | 1.0MPa~1.6MPa | 連接方式: | 內螺紋 |
| 適用溫度: | -20ºC~+570ºC | 功能作用: | 減壓 |
| 閥體材質: | 不銹鋼、黃銅 | 制造標準: | 國標GB、德國DIN、美國API、ANSI |
| 適用介質: | 水、飽和蒸汽等 | 生產廠家: | 上海承質閥門制造有限公司 |
| 類型 | 型號 |
公稱壓力 PN(MPa) |
公稱通徑 DN(MPa) |
連接形式 | 閥體材料 | 出口壓力(MPa) | 工作℃ |
| 可調式支管減壓閥 |
YZ11X-16T YZ11X-25T |
1.6,2.5 | 15~50 | 內螺紋 | 青鋼 | 0.05~0.6(可調) | 80 |
|
YZ11X-16P YZ11X-25P |
不銹鋼 |
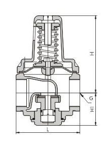
| 公稱通徑DN(MPa) | 尺寸(MM) | 重量(Kg) | ||||
| MM | in | H1 | L | H | φG | |
| 15 | 1/2 | 31 | 60 | 76.5 | 59 | 1.2 |
| 20 | 3/4 | 31 | 75 | 76.5 | 73 | 1.2 |
| 25 | 1 | 36 | 88 | 85 | 81 | 1.4 |
| 32 | 11/4 | 42 | 93 | 98 | 81 | 1.5 |
| 40 | 11/2 | 45 | 98 | 102 | 85 | 2 |
| 50 | 2 | 54 | 130 | 117 | 98 |
2.65 |


|
聲明:【YZ11X可調式支管減壓閥】規格型號、結構尺寸由上海承質閥門制造有限公司提供,如何選擇適用的YZ11X可調式支管減壓閥產品,使之在工藝控制中安全可靠、經濟適用,可致電我司銷售部門及技術部門,我們將在最短的時間內為您解答! |